ZheJiang GoodSense Forklift Co., Ltd.
  • الصفحة الرئيسية
  • نبذة عن الشركة
  • المنتجات
    • رافعات شوكية (فوركلفت)
    • رافعات واصلة (ريتش تراك)
    • رافعات شوكية ذات شحن جانبي (محمل جانبي)
    • عربات نقل طبالى
    • رافعات ستكر كهربائية
    • جرار السحب (جرار مناولة)
    • عربة سيور تحميل الأمتعة
    • رافعات شوكية للأراضي الوعرة
  • المصنع
  • الخدمة
  • الفيديو
  • تواصل معنا
  • الصفحة الرئيسية
  • المنتجات
  • رافعات ستكر كهربائية
رافعات ستكر كهربائية

Electric Stacker

  • Electric Stacker
  • Electric Stacker

تُعتبر منتجات شركتنا GOODSENSE من معدات المناولة والروافع الشوكية مثل رافعة ستكر كهربائية (مكدس البضائع) بأنها قوية التحمل وتتمتع بأعلى مستويات الكفاءة والإستقرار، وبالتالي فهي مناسبة للعمل في الأرضيات الصلبة والمستوية حيث تصل أقصى درجة صعود بحمولة كاملة من 6 إلى 8 بالمائة، كما توفر الشركة 4 أنواع من الصواري (السواري) المستخدمة في الرافعة ستكر من أجل توفير خيارات متعددة للزبائن من بينها: منصة واحدة، منصتان، 3 منصات، 4 منصات.

كما توفر الشركة أيضاً للزبائن رافعة ستكر، 1.5 إلى 2.0 طن ( مكدس كهربائي)، علماً أنه تتوفر أيضاً خدمة التخصيص من أجل تلبية الطلبات المختلفة على أتم وجه.

تفاصيل
  • صندوق تروس (ناقل الحركة) من ZF الألمانيةصندوق تروس (ناقل الحركة) من ZF الألمانية
    قوية التحمل وعالية الجودة وتخدم لفترة طويلة.
  • مكبح INTORQمكبح INTORQ
    يتميز بمستوى عالٍ من الأمان وسهل الاستخدام.
  • محرك كهربائي ACمحرك كهربائي AC
    محرك قوي وذو كفاءة عالية ويخدم لفترة طويلة بدون الحاجة للصيانة.
  • نظام التوجيه EPSنظام التوجيه EPS
    تتميز بمحرك كهربي رأسي قوي التحمل ويخدم لفترة طويلة بدون الحاجة للصيانة، كما يتسم بخاصية تبديد الحرارة بشكل جيد.
  • عجلة التوازنعجلة التوازن
    تم تصميمها بزنبرك/ نابض مضغوط وتعمل على مضاعفة مستوى استقرار الرافعة إلى أعلى المستويات
  • دواسة قابلة للطيدواسة قابلة للطي
    هذه الدواسة مزودة بنابض مما يجعلها سهلة الاستخدام وتوفر مساحة.
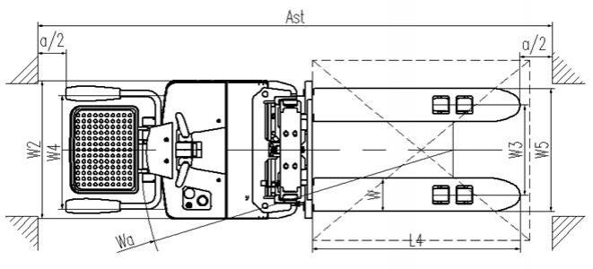
رسم تصويري للتصميم مع الأبعاد
  • رسم تصويري للتصميم مع الأبعاد
  • رسم تصويري للتصميم مع الأبعاد
الخواص الفنية
الموديل FBD15 FBD16 FBD18 FBD20
طريقة العمل عليها/ وضعية التشغيل قائم/ واقف عليها
سعة التحميل/ الحمولة المقدرة     kg 1500 1600 1800 2000
مسافة مركز التحميل   C mm 600
الوزن (مع البطارية)     kg 1184 1210 1362 1386
المادة التي تُصنع منها العجلات       بولي يوريثان (PU)
عجلة التوجيه/ عجلات التحميل/ عجلة التوازن   Ø230*70 / Ø80*70 / Ø100*50
قاعدة العجلات   L1 mm 1478 1485
أبعاد الشوكة L×W×T L4XWXT mm 1150X185X55 1150X180X66
العرض فوق الشوكة (من الخارج)   W5 mm 570/685
أدنى قيمة للخلوص الأرضي للشوكة   H3 mm 85
أدنى قيمة لنصف قطر الدوران   Wa mm 1644 1726
أدنى خلوص أرضي   H5 mm 27
أقل عرض لممر الطبالي 1000X1200   RASA mm 2700 2785
أقل عرض لممر الطبالي 800X1000   RASA mm 2580 2665
أقصى سرعة للحركة ( مع حمولة كاملة/ بدون حمولة)     km/h 6/5.5
أقصى سرعة للرفع ( حمولة كاملة/ بدون حمولة)     mm/s 87/ 120 83/115 90/110 85/115
أقصى سرعة للإنخفاض ( حمولة كاملة/ بدون حمولة)     mm/s 145/105 140/105 120/107 125/107
أقصى درجة صعود (حمولة كاملة/ بدون حمولة)     % 6/10 6/8
نظام المكابح       كهرمغنطيسي
البطارية (الجهد الكهربائي/ السعة)   V/Ah 24V/180Ah 24V/210Ah 24V/240Ah 24V/270Ah
قدرة المحرك الحركة ( محرك الدفع) Kw 1.5
الرفع ( محرك الرفع) Kw 2.2 3
محرك نظام التوجيه Kw 0.2

تأسست شركة ZheJiang GoodSense Forklift Co., Ltd. في العام 2006، حيث تميزت وتألقت في مجال تصنيع الروافع الشوكية ومعدات المناولة عالية الجودة، وذلك بفضل الجهود الجبارة التي بُذلت وتُبذل في سبيل البحث والتطوير والذي من شأنه مَكَّنَ الشركةَ من إنتاج معدات ذات كفاءةٍ عالية تُساهم بشكلٍ كبير في القيام بعمليات النقل والرفع والسحب والتحميل والتفريغ في المستودعات والأرصفة والأماكن الأخرى مما ضاعف من الفوائد التي يجنيها أصحاب المصالح سواء التجارية أوالخدمية. وتشمل منتجات الشركة على الرافعات الشوكية الكهربائية وفوركلفت ديزل ورافعات واصلة (رافعات ريتش تراك) كهربائية وعربات نقل طبالي ورافعات ستكر كهربائية (رافعات تكديس) وغيرها من معدات المستودعات الأخرى إضافة إلى جرارات المناولة وعربات سيور تحميل الأمتعة.

Tags
رافعات ستكر كهربائية فوركليفت رافعة شوكية ناقلة طبليات معدات التكديس الجوالة مصنع معدات مناولة

استفسار

منتجات أخرى
    1. جرار السحب الكهربائي، 6 طن
    2. جرار السحب الكهربائي، 6 طن
    1. جرار السحب الكهربائي، 25 طن/ 38 طن
    2. جرار السحب الكهربائي، 25 طن/ 38 طن
    1. جرار السحب الكهربائي، 200 طن
    2. جرار السحب الكهربائي، 200 طن
    1. جرار مناولة ديزل، 32 طن/ 38 طن
    2. جرار مناولة ديزل، 32 طن/ 38 طن
قائمة المنتجات
  • رافعات شوكية (فوركلفت)
    1. رافعة شوكية كهربائية
    2. رافعة شوكية ذات محرك الاحتراق الداخلي
  • رافعات واصلة (ريتش تراك)
    1. رافعة ريتش تراك، نوع واقف
    2. رافعة ريتش تراك، نوع جلوس
  • رافعات شوكية ذات شحن جانبي (محمل جانبي)
    1. رافعات شوكية كهربائية ذات شحن جانبي
    2. رافعات شوكية ديزل ذات شحن جانبي
  • عربات نقل طبالى
    1. عربة نقل طبالى كهربائية، 1.3 إلى 1.5 طن
    2. عربة نقل طبالى كهربائية، 2 إلى 2.5 طن
  • رافعات ستكر كهربائية
  • جرار السحب (جرار مناولة)
    1. جرار السحب الكهربائي
    2. جرار مناولة ديزل
  • عربة سيور تحميل الأمتعة
  • رافعات شوكية للأراضي الوعرة
    1. رافعة شوكية للأراضي الوعرة، الدفع الثنائي
    2. رافعة شوكية للأراضي الوعرة، الدفع الرباعي
ZheJiang GoodSense Forklift Co., Ltd.

العنوان: Haichang Road 1188#, Binhai Industrial Zone, Taizhou, Zhejiang
الشخص المسؤول: Kevin Ye
رقم الهاتف:+86-576-82698897
رقم الفاكس: +86-576-82707339

المنتجات
  • رافعات شوكية (فوركلفت)
  • رافعات واصلة (ريتش تراك)
  • رافعات شوكية ذات شحن جانبي (محمل جانبي)
  • عربات نقل طبالى
  • رافعات ستكر كهربائية
  • جرار السحب (جرار مناولة)
  • عربة سيور تحميل الأمتعة
  • رافعات شوكية للأراضي الوعرة
نبذة عن الشركة
  • نبذة عن الشركة
  • الشهادات
المصنع
  • التصنيع وتشغيل المعادن
  • عملية التجميع
  • معدات الاختبار
  • التحكم ومراقبة الجودة
الصفحة الرئيسية نبذة عن الشركة المصنع الخدمة تواصل معنا